Съемник с двумя поворотными захватами евротип 16"
Описание
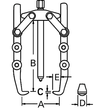
B1(мм) 420
Отзывы
Отзывы
Оставить отзыв
Загрузка отзывов...
Наличие




