Съемник с двумя поворотными захватами 4"
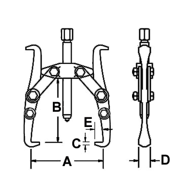
Характеристики
|
E
|
7 |
|
Длина винта
|
170 |
|
Резьба винта
|
2,5 |
Отзывы
Отзывы
Оставить отзыв
Загрузка отзывов...
Наличие



